其他出库
一、功能介绍
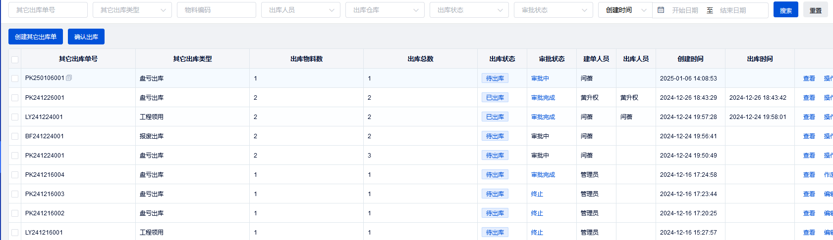
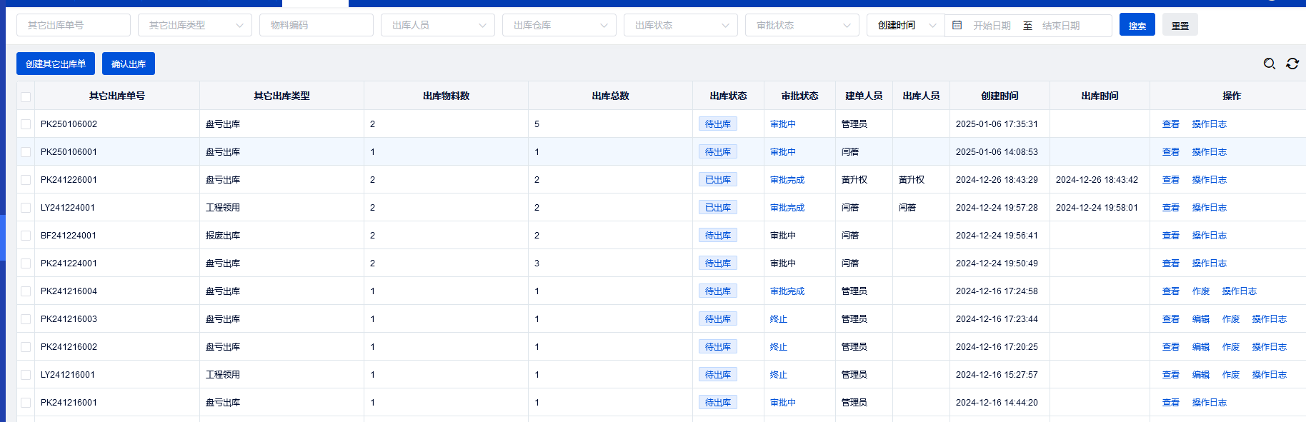
其他出库是指通过做其他出库单据扣减库存,实物出库;支持的单据类似包含盘亏出库,其他出库,工程领用,借出出库,并且单据支持创建,编辑,查看,操作日志,作废,确认出库。
二、功能操作
创建
点击创建按钮,在弹窗中选择单据的类型,需要出的仓库,然后添加物料,输入出库的数量,点击确定或者提交审批。



点击确定按钮,列表会生成一条其他出库单据,出库状态是待出库,审批状态是待审批。

点击提交审批,列表会生成一条其他出库单据,出库状态是待出库,审批状态是审批中。

编辑
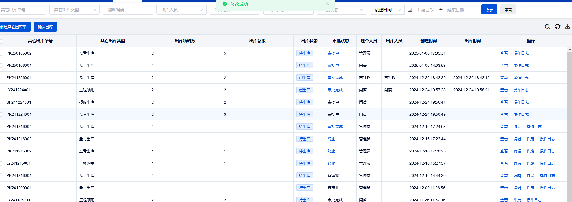
点击编辑按钮,在弹窗中可以修改出库数量,或者重新添加物料,和删除物料,可以点击确定或者是点击提交审批。


点击确定按钮,列表的数据会按照修改的字段进行更新,且出库状态是待出库,审批状态是待审批。

点击提交审批按钮,列表的数据会按照修改的字段进行更新,且出库状态是待出库,审批状态是审批中。

查看
点击查看按钮,弹窗中展示维护的字段值,并且不能修改。


操作日志
点击操作日志按钮,在弹窗中展示单据从创建到至今经过多少修改记录。


作废
作废按钮是审批状态为待审批,且出库状态为待入库以及审批状态是审批完成,出库状态是待出库才会出现;
在列表中点击了作废按钮,再输入作废理由,点击确定之后,选择作废的单据会变成作废状态。



确认出库
一定是出库状态为待出库,且审批状态为审批完成的数据才可以点击确认出库;
点击确认出库,在二次确认,确认完成之后,单据的状态会更新,出库状态为出库完成;并且会在对应的仓库库位的物料扣减对应的数量的库存。



