供应商报价申请
一、功能介绍
供应商报价申请是对供应商提供的物料进行报价,以便下单的时候可以获取对应的价格;且可以多次报价。
二、功能操作
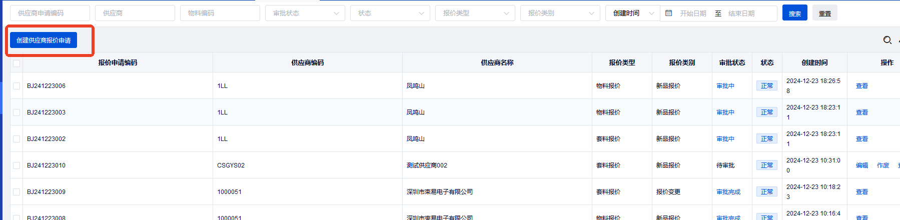
创建供应商报价申请
点击创建供应商报价申请在弹窗中可以选择。
报价类型:物料报价,套料报价
报价类别:新品报价,价格变更
特点:物料报价支持阶梯报价,不支持报价整个bom物料。
套料报价支持bom报价,支持自由新增删除bom物料,且会对明细的物料报价进行汇总计算,提交之后,如明细没有报过价,会自动生成一条物料报价申请。
物料:




套料:



查看
点击查看按钮,弹窗中展示维护的字段值,并且不能修改。


编辑
点击编辑按钮,在弹窗中可以修改字段的内容,点击提交审批,提交成功之后,审批状态为审批中。



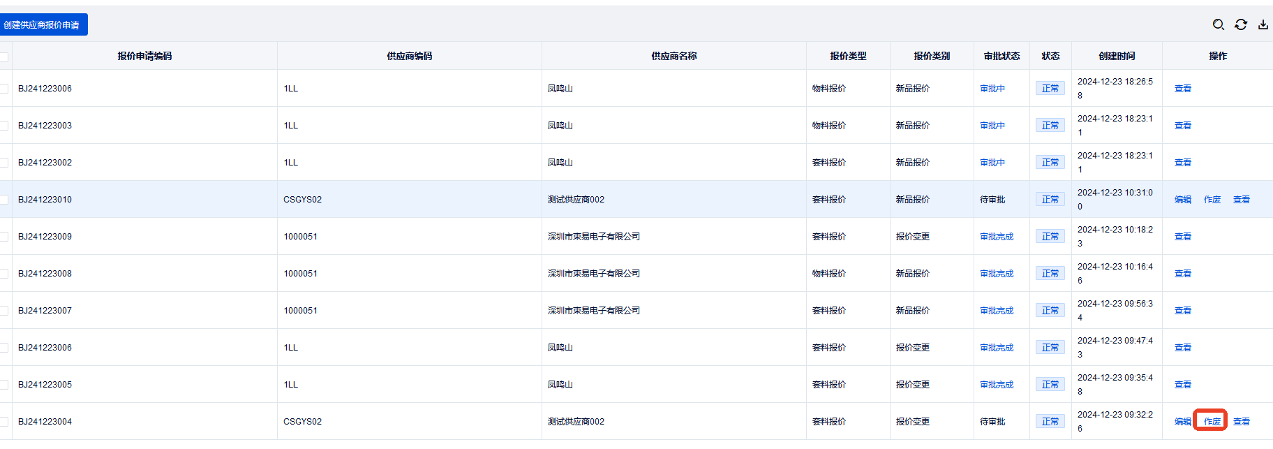
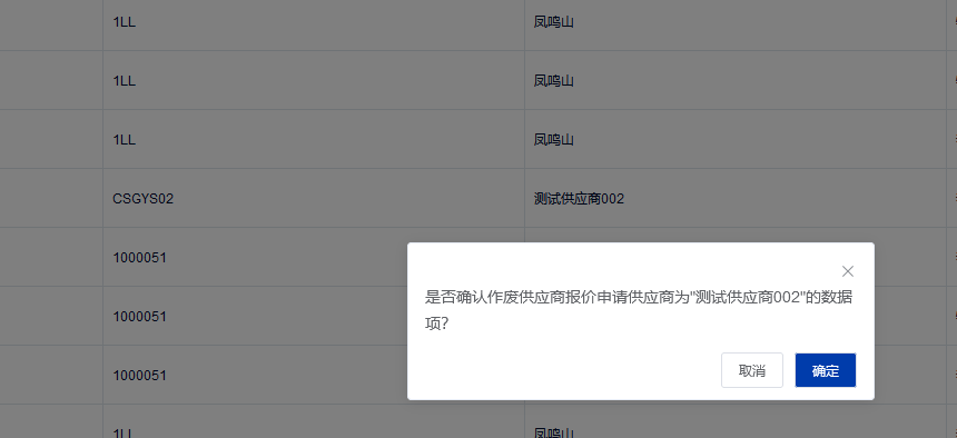
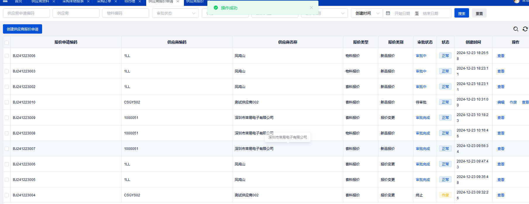
作废
点击作废按钮,在弹窗中点击确定,数据会更新状态,审批状态为终止,状态为作废。



导出
点击列表的右上角的下载按钮,可以进行下载。
导出支持:勾选导出,全部导出,搜索导出。
搜索导出:搜索进行搜索之后,然后点击下载按钮。




全部导出:点击列表的右上角的下载按钮,不勾任何数据


勾选导出:点击列表的右上角的下载按钮,不勾任何数据。

