成品入库
一、功能介绍
成品入库是指领料出库出库之后在生产出的成品,通过这个单据把生产的数量加入到库存中;通过这个单据管理新增的库存数量。
二、功能操作
创建
点击创建按钮,在弹窗中选择需要入库的仓库,然后选择按照物料类型添加物料或者是按照领料类型添加物料,输入入库的数量,点击确定或者提交审批。



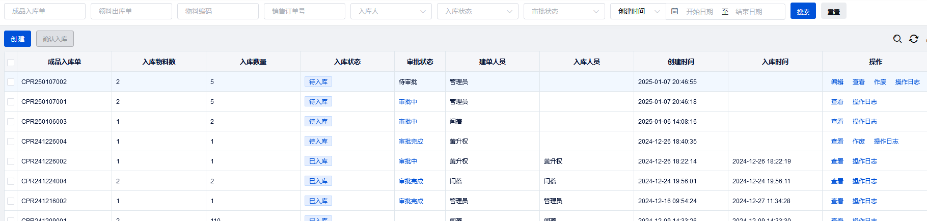
点击确定按钮,列表会生成一条其他入库单据,入库状态是待入库,审批状态是待审批。

点击确定按钮,列表会生成一条其他入库单据,入库状态是待入库,审批状态是审批中。

编辑
点击编辑按钮,在弹窗中可以修改入库数量,或者重新添加物料,和删除物料,可以点击确定或者是点击提交审批。


点击确定按钮,列表的数据会按照修改的字段进行更新,入库状态是待入库,审批状态是待审批。

点击确定按钮,列表的数据会按照修改的字段进行更新,入库状态是待入库,审批状态是审批中。

查看
点击查看按钮,弹窗中展示维护的字段值,并且不能修改


作废
作废按钮是审批状态为待审批,且入库状态为待入库以及审批状态是审批完成,入库状态是待入库才会出现。
在列表中点击了作废按钮,再输入作废理由,点击确定之后,选择作废的单据会变成作废状态。



操作日志
点击操作日志按钮,在弹窗中展示单据从创建到至今经过多少修改记录。


确认入库
一定是入库状态为待入库,且审批状态为审批完成的数据才可以点击确认入库;
点击确认入库,在二次确认,确认完成之后,单据的状态会更新,入库状态为入库完成;并且会在对应的仓库库位的物料添加对应的数量的库存。



