销售出库单

一、功能介绍

销售出库单是对销售订单的物料进行出库的统计,并且会自动在系统上的库存扣减的功能。

二、功能操作

创建

点击创建按钮,在弹窗中选择客户,需要发货的仓库,然后添加物料,输入出库的数量,点击确定或者提交审批。
销售出库单
销售出库单
销售出库单

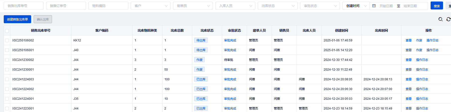
点击确定按钮,列表会生成一条销售出库单据,出库状态是待出库,审批状态是待审批。

销售出库单

点击提交审批按钮,列表会生成一条销售出库单据,出库状态是待出库,审批状态是审批中。

销售出库单

编辑

点击编辑按钮,在弹窗中可以修改出库数量,或者重新添加物料,和删除物料,可以点击确定或者是点击提交审批。

销售出库单
销售出库单

点击确定按钮,列表的数据会按照修改的字段进行更新,出库状态是待出库,审批状态是待审批。

销售出库单

点击提交审批按钮,列表的数据会按照修改的字段进行更新,出库状态是待出库,审批状态是审批中。

销售出库单

查看

点击查看按钮,弹窗中展示维护的字段值,并且不能修改。

销售出库单
销售出库单

作废

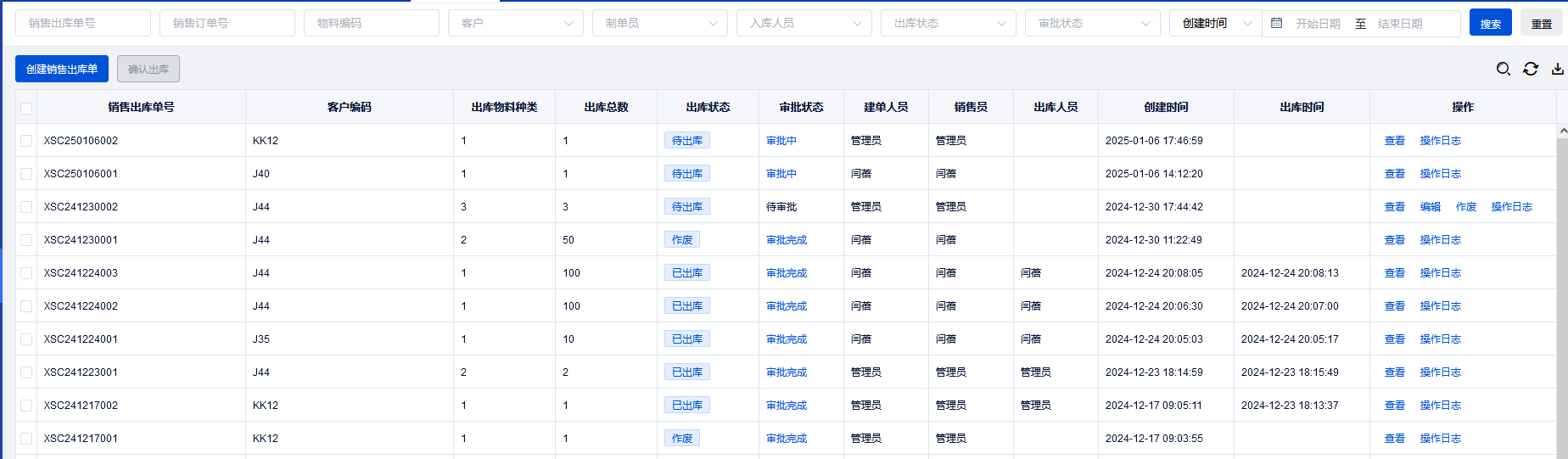
作废按钮是审批状态为待审批,且出库状态为待出库以及审批状态是审批完成,出库状态是待出库 才会出现。
在列表中点击了作废按钮,再输入作废理由,点击确定之后,选择作废的单据会变成作废状态。

销售出库单
销售出库单
销售出库单

操作日志

点击操作日志按钮,在弹窗中展示单据从创建到至今经过多少修改记录。
销售出库单
销售出库单

确认出库

一定是出库状态为待出库,且审批状态为审批完成的数据才可以点击确认出库。
点击确认出库,在二次确认,确认完成之后,单据的状态会更新,出库状态为出库完成;并且会在对应的仓库库位的物料扣减对应的数量的库存。

销售出库单
销售出库单
销售出库单
销售出库单