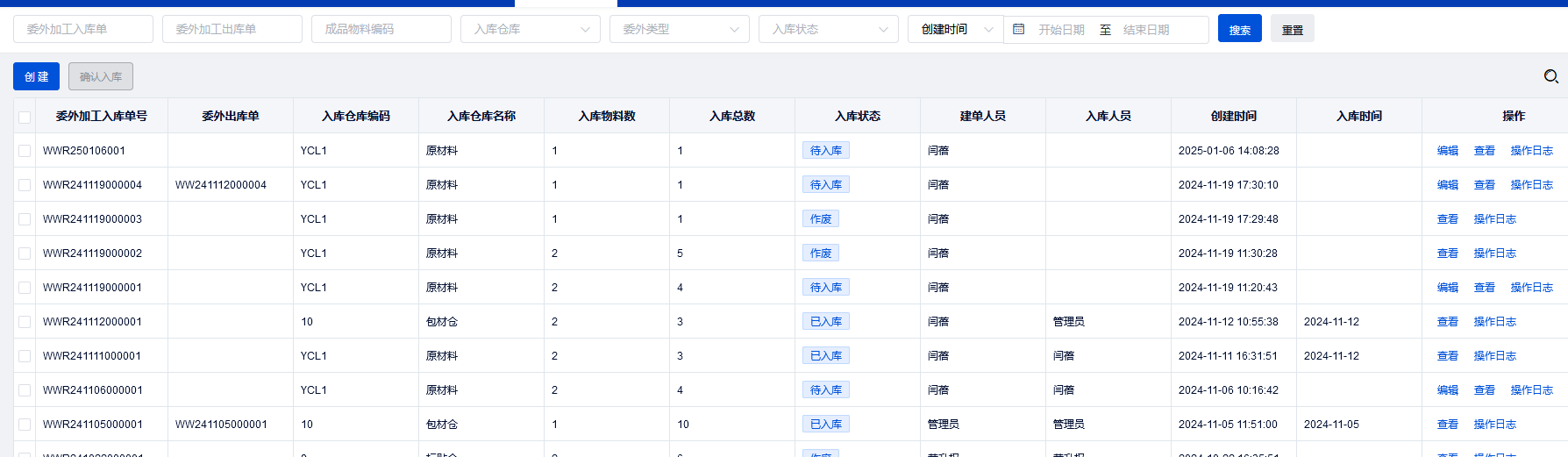
委外加工入库
一、功能介绍
委外加工入库是表示需要把物料发送给供应商,由供应商进行组装之后,变成新的物料,再发回来进行加入库存发货;这个单据目的是供应商组装好的物料入库,并且单据支持创建,编辑,查看,作废,操作日志,确认出库。
二、功能操作
创建
点击创建按钮,在弹窗中选择按委外出库单类型或者按物料类型,需要入库的仓库,然后添加物料,输入入库的数量,点击确定。



点击确定按钮,列表会生成一条其他入库单据,入库状态是待入库。

编辑
点击编辑按钮,在弹窗中可以修改入库数量,或者重新添加物料,和删除物料,可以点击确定。


点击确定按钮,列表的数据会按照修改的字段进行更新,入库状态是待入库。

查看
点击查看按钮,弹窗中展示维护的字段值,并且不能修改


作废
作废按钮是入库状态为待入库才会出现。
在列表中点击了作废按钮,再输入作废理由,点击确定之后,选择作废的单据会变成作废状态。

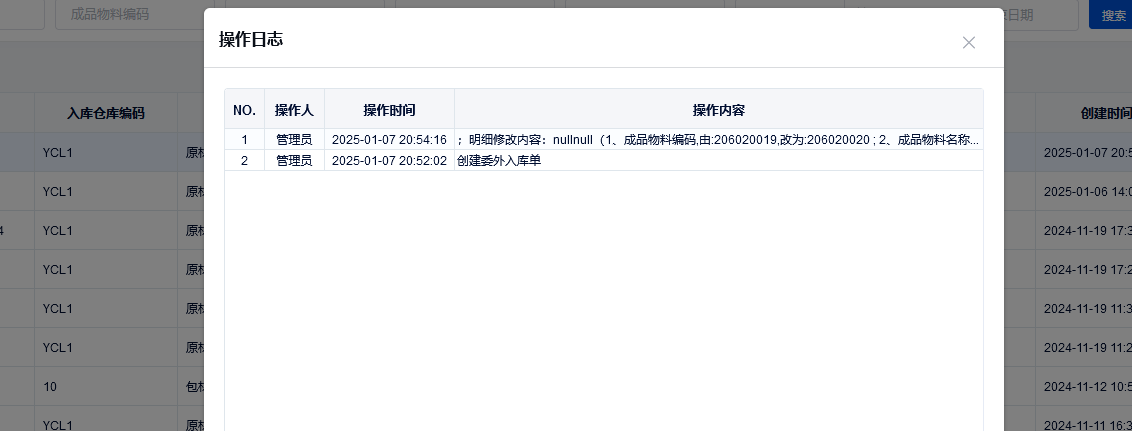
操作日志
点击操作日志按钮,在弹窗中展示单据从创建到至今经过多少修改记录。


确认入库
一定是入库状态为待入库,且审批状态为审批完成的数据才可以点击确认入库。
点击确认入库之后,单据的状态会更新,入库状态为入库完成;并且会在对应的仓库库位的物料添加对应的数量的库存。



