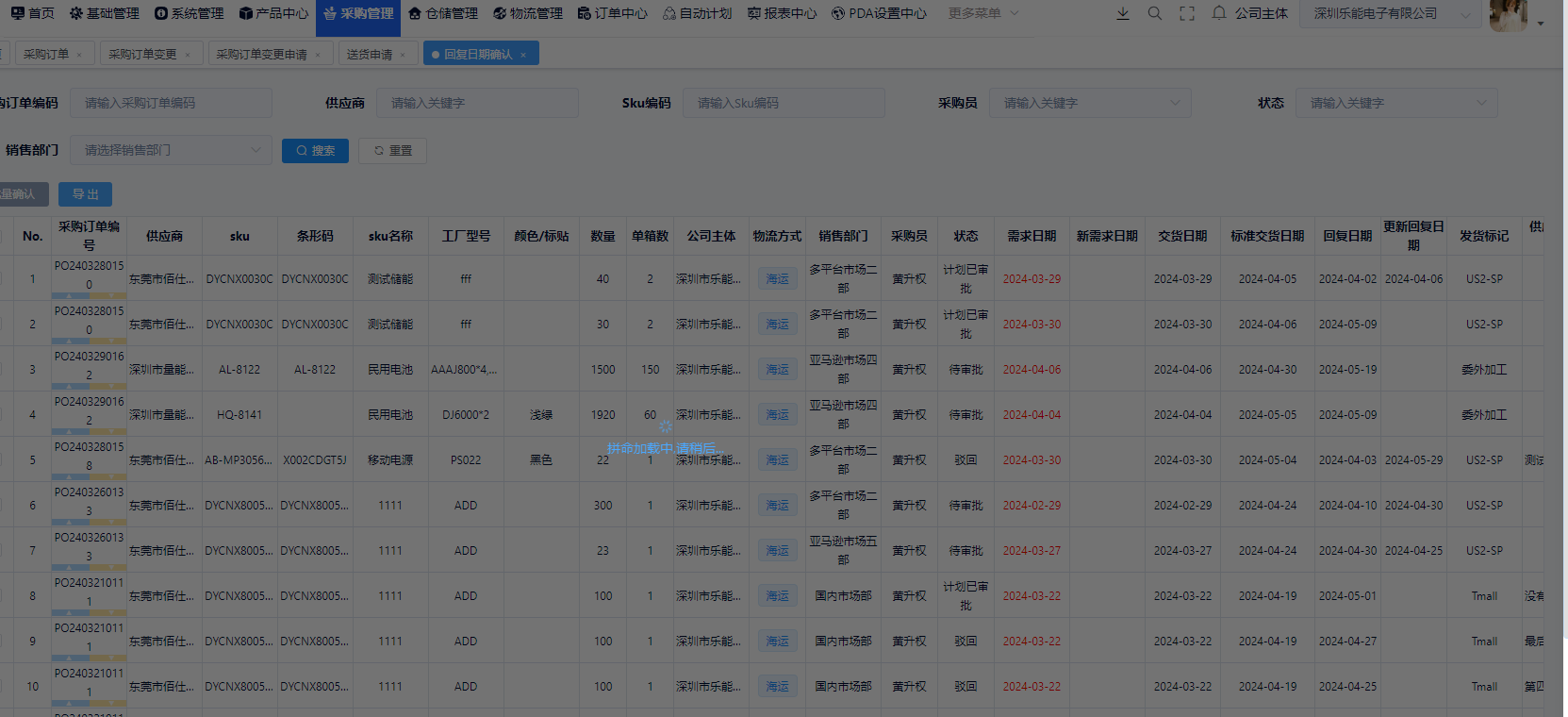
采购订单回复日期

一、功能介绍

采购管理可以对供应商买进商品的过程进行管理,本系统支持采购订单的回复日期与SRM(供应商系统)系统的回复日期交互,针对交货日期,供应商回复告知 采购人员是否延期或及时交货;支持审批,导出。

二、操作说明

批量确认

SRM系统在采购订单中维护了回复日期,并且回复日期 >max(需求日期,(采购单推送SRM时间/采购单审批完成时间+采购周期))+7,该采购订单回复日期会同步到这列表中。

审批流程:采购审批->计划审批->结束。

采购订单回复日期

导出

导出所有的回复日期数据。

采购订单回复日期采购订单回复日期