B2B订单操作流程

一、功能介绍

B2B订单是支持自发货的B端订单,支持国内发货到海外,或者是海外直发海外的操作。
B2B订单支持创建,修改,合单,拆单,作废,生成采购计划等操作

二、B2B订单操作说明

  • 创建订单
  • 点击创建订单按钮,在弹窗中维护需要的内容,按照红色必填字段填写对应的内容数据,然后点击提交审批按钮,提交成功之后,会在列表中自动生成一条数据,状态是审批中。或者是点击保存按钮,保存成功之后,会在列表中自动生成一条数据,状态是待审批;

其中需要注意以下内容:
1.若是从海外仓库发货的数据,如:在美国非FBA仓库出库,那么收款主体选择东方宏愿,并且SKU的是否报关 选择否
2.若是从国内仓库发货的数据,货物不需要报关,是直接发给客户在中国的货代,则收款主体可以按照实际情况选择,是东方宏愿卖给客户,还是乐能创新卖给客户;
3.若是从国内仓库发货,但货物需要报关,则收款主体必须选择进出口;
4.存在客户是海外客户,但不需要发货到海外,只需要发货到客户在中国的货代,那么需要在客户信息管理中把客户收货国家选择中国;
5.客户的结算方式是现金结算,那么提交B2B订单之前需要先点击保存单据,然后需要创建收款单,需要等到收款单已经确认收款之后,才可以提交审批;
如果不创建收款单,直接提交审批,会拦截,提示手工创建订单异常:e== 请先确认收款再提交审批!
6.选择乐能创建的收款主体,是不能够直接选择海外的客户的,会进行拦截提示:手工创建订单异常: e== 目前乐能创新公司仅仅能够发货国内客户,不支持由乐能创新发货到海外客户,如有真实业务,请协调财务和IT确认处理方式
7.单据中有一个付款比例字段,是根据收款单实际付了多少款,占总金额的百分几;
单据的付款比例未超过30%,那么需要走完所有的审批
单据的付款比例超过30%但没有超过100%,那么在B2B订单中跳过财务BP审批,但在拣货任务中需要走完所有审批
单据的付款比例超过100%,那么在所有审批流中都会跳过财务BP审批

alt text
alt text
alt text

  • 修改订单
  • 支持待审批状态,审批完成状态的单据进行修改;

点击修改订单按钮,可以修改没有置灰的字段内容,点击提交审批或者是保存按钮
其中注意已下内容:
1.审批完成的单据修改之后,需要重新再走一次审批
alt text
alt text
alt text
alt text

  • 财务备注

  • 勾选B2B订单数据,点击财务备注,在弹窗中维护信息,点击确定之后,会更新在订单的财务备注字段中
    alt text
    alt text

  • 仓库备注

  • 勾选B2B订单数据,点击仓库备注,在弹窗中维护信息,点击确定之后,会更新在订单的仓库备注字段中
    alt text
    alt text
    alt text

  • 提交审批

  • 勾选B2B订单数据,点击提交审批,在弹窗中点击确定按钮,B2B订单的单据会从待审批进入审批中
    alt text
    alt text

  • 审批订单

  • 勾选B2B订单是销售审批中状态的数据,点击审批订单,在弹窗中点击确认,B2B订单会审批对应的节点
    alt text
    alt text
    alt text

  • 合并订单

  • 针对相同客户不同的订单,那么可以进行勾选,点击合并订单,把多个订单合并成一个订单;

会生成一个新的单据,原来的单据状态是作废;

alt text
alt text
alt text

  • 拆分订单
  • 针对一个订单里需要把多个SKU拆分多个订单或者是一个SKU的数量拆分成多份等场景,可以使用拆单功能实现
    勾选需要拆单的单据,点击拆分订单按钮,按照场景需求,维护需要拆分的SKU,数量以及发货的仓库,点击拆分,拆分完成之后,会按照拆分单独生成单据;拆分完成之后,原单是作废
    其中需要注意:
    1.订单已经生成过收款单,并且有了对应的付款比例;拆单之后,新的单据的付款跟原单是一样的
    alt text
    alt text
    alt text
    alt text
  • 转仓库
  • 勾选已经审批完成的B2B订单数据,点击转仓库,勾选对应库存的库位,条码,以及数量等内容,点击确定按钮,会提示转仓成功
    alt text
    alt text
    alt text
    alt text
  • 创建收款单
  • 勾选B2B订单,点击创建收款单按钮,维护好*号字段,点击确定按钮,会在收款单管理中生成一条收款单数据
    alt text
    alt text
    alt text
    alt text
    alt text
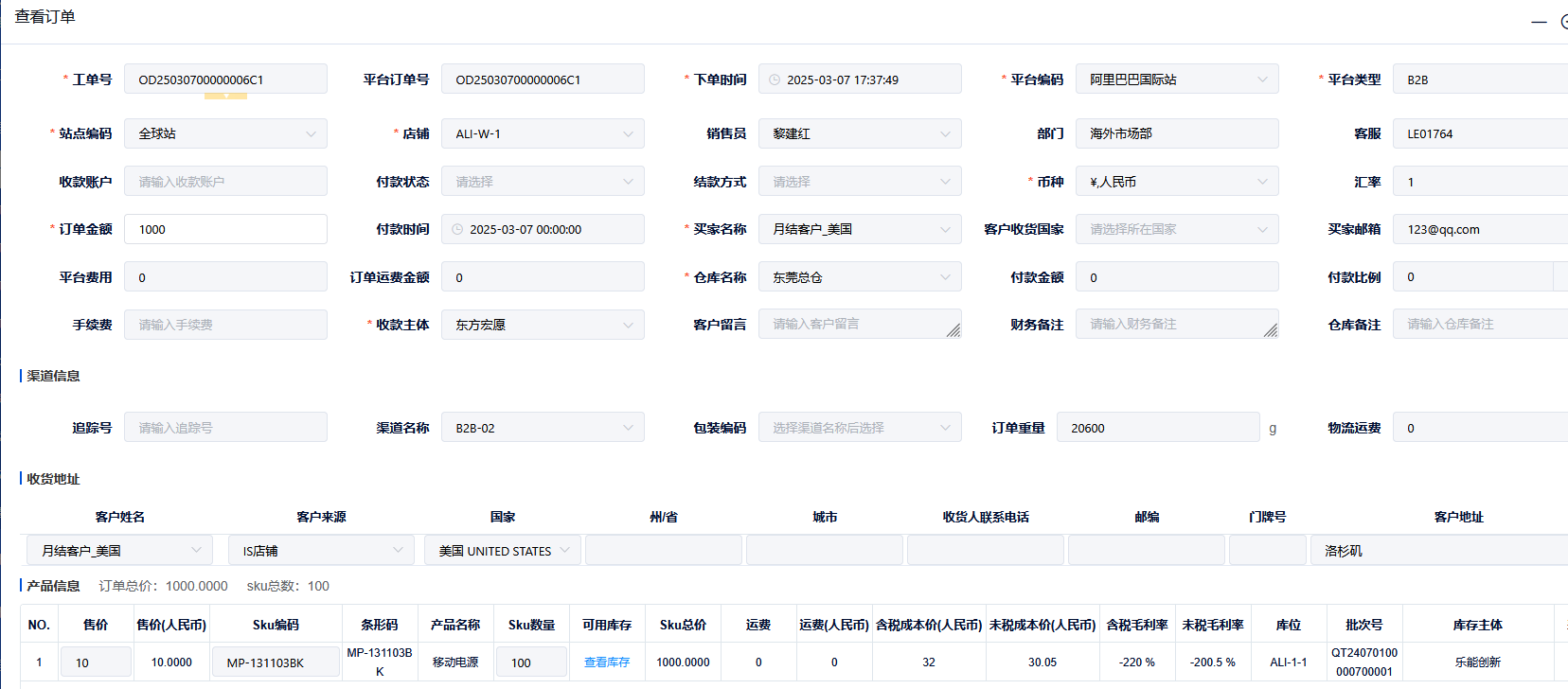
  • 查看
  • 勾选B2B订单数据,点击查看按钮,在弹窗中展示B2B订单的数据,且不能修改
    alt text
    alt text
  • 作废
  • 勾选B2B订单数据,点击作废按钮,B2B订单数据状态会更新为已作废
    alt text
    alt text
  • 收款明细
  • 点击收款明细按钮,在弹窗中展示已经做了收款单的明细
    alt text
    alt text
  • 操作日志
  • 点击操作日志,可以在弹出窗口中展示订单的所有操作更新记录
    alt text
    alt text
  • 生成采购计划
  • 点击生成采购计划按钮,如果缺少库存,会自动生成采购计划,如果不缺库存,则会提示库存充足,无需生成采购计划
    alt text
    alt text
    alt text
    alt text
    alt text