采购订单变更

一、功能介绍

采购管理可以对供应商买进商品的过程进行管理,本系统支持对审批通过的采购订单,进行采购订单变更,采购订单变更可以编辑、审批、作废、手动完成。

二、操作说明

查看

点击查看,可以查看采购订单变更的数据。

采购订单变更

采购订单变更

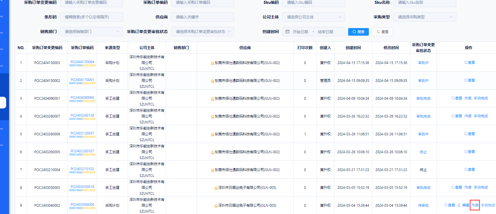
作废

点击作废,点击弹窗中的确认按钮,采购订单变更中的审批状态为终止,采购订单明细的状态恢复为已采购。

采购订单变更

采购订单变更

采购订单变更

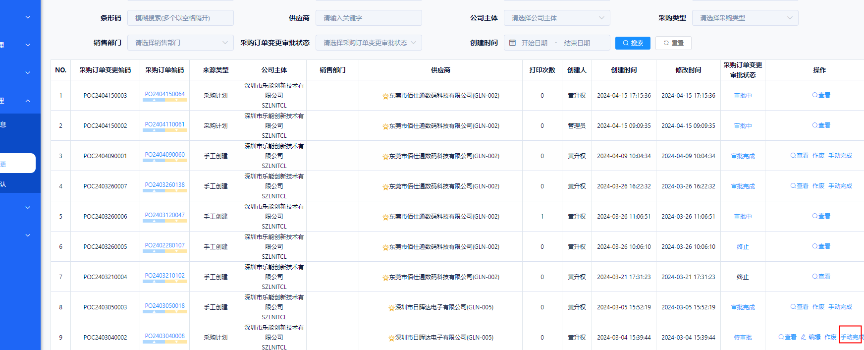
手动完成

点击手动完成,点击弹窗中的确认按钮,采购订单变更中的审批状态为终止,采购订单明细状态恢复为已采购。

采购订单变更

采购订单变更

采购订单变更

编辑

点击编辑按钮,可以修改采购订单变更中的明细数据内容,再次提交审批。

采购订单变更

采购订单变更