采购计划
一、功能介绍
采购管理可以对供应商买进商品的过程进行管理,本系统支持创建采购计划,可以编辑、审批、下单、变更、自动创建采购订单、作废、手动完成。
二、操作说明
创建采购计划
点击创建采购计划按钮,手工创建,维护红色必填项,添加对应的SKU,维护必要的平台,站点等字段,点击提交审批。


导入生成采购计划
点击单条计划导入,弹窗出来,点击下载模板,维护采购计划模板,然后上传这个附件;生成一条待审批的采购计划,可以编辑提交审批。





一键生成采购订单
勾选数据,然后点击一键生成采购,按照规则去取供应商,然后点击确认,则生成一条待审批的采购订单




批量分配计划员
勾选采购计划之后,点击批量分配计划员,在弹窗中选择新的计划员,点击确认后,采购计划中计划人员就更新为新的计划员



批量作废明细
勾选采购计划之后,点击批量作废明细,在弹窗中选择要作废的明细数据,点击确认后,采购计划中明细状态就是已作废




注意:无法操作已完成、已作废状态的单据
批量手动完成明细
勾选采购计划之后,点击批量手动完成明细,在弹窗中选择要手动完成的明细数据,点击确认后,采购计划中明细状态就是手动完成




注意:无法操作已完成、已作废状态的单据
批量修改明细 批注
勾选采购计划,点击批量修改明细批注,弹窗中,编写明细批注,点击保存,则采购计划,写入编写的明细批注



1.添加批注
勾选采购计划,点击添加批注,在弹窗中编写批注,点击保存,则会把编写的批注写入采购计划中,列表中出现一个标签,点击标签可以看到批注内容




编辑
点击编辑按钮,可以修改添加的SKU信息内容,条码,店铺,站点,平台,数量等数据,点击提交审批

作废
点击作废按钮,弹出一个窗口,点击确定,把采购计划中的所有明细作废,审批状态修改为审批完成,执行状态为已完成,采购计划明细的状态为已作废


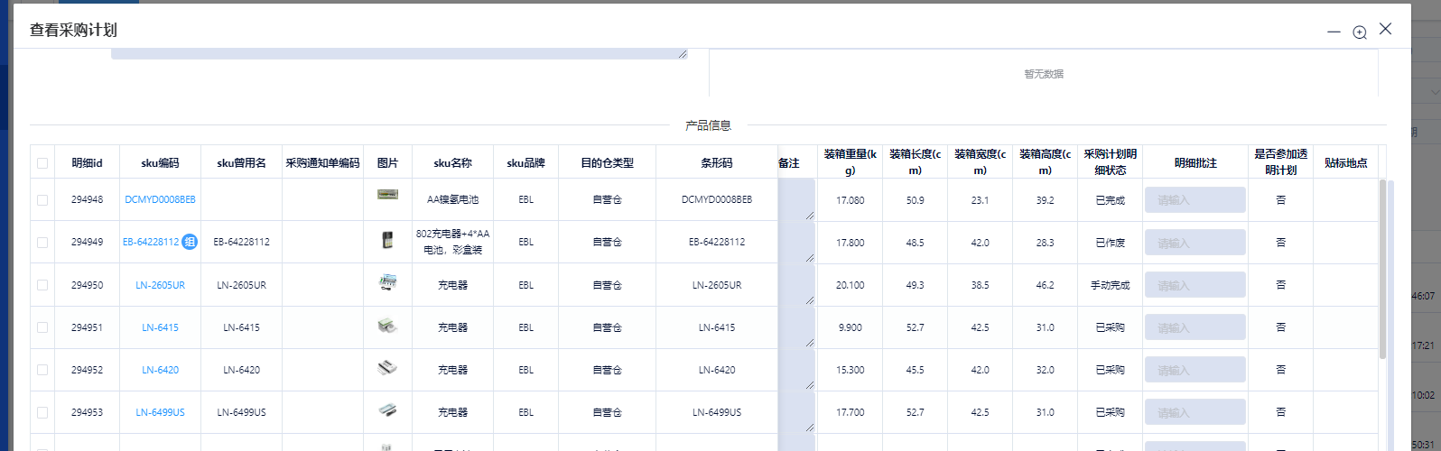
查看
点击查看按钮,可以查看添加的数据

导出
1.点击导出,可以把所有的数据导出
2.勾选采购计划数据,点击导出,可以把勾选的数据单独导出


打印
点击查看,在弹窗右下角点击打印


手动完成
点击手动完成按钮,在弹窗点击完成之后,采购计划 审批状态为审批完成,执行状态为手动完成。采购计划明细状态为手动完成



