验货申请
一、功能介绍
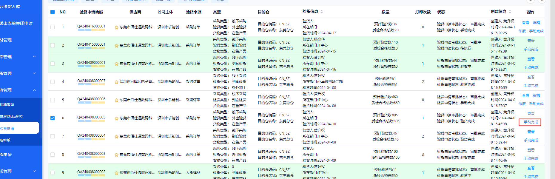
仓库管理可以对供应商送货到仓库进行收货上架管理,本系统支持对货物进行到仓验货,或者外出到供应商验货做验货申请单,验货申请单的操作可以创建,编辑,审批,作废,手动完成,打印。
二、操作说明
创建验货申请单
点击创建验货单按钮,弹窗出来之后,维护验货来源,验货类型,供应商信息,公司主体,验货时间等数据,并且新增可以添加可验货数不为0的采购订单数据,选择完成之后,可以修改预计验货数;




分配验货人
勾选验货单数据,点击分配验货人按钮之后,弹出窗口可以分配新的验货人,点击确定之后,操作成功,会把验货单的数据进行修改为新的验货人。



再次分配验货
勾选验货单数据,点击再次分配验货,弹出窗口可以修改验货时间,点击确定之后,验货申请状态为验货中,并且可以再次用该验货单号做质检单。



导出
1.直接点击导出按钮,导出了所有的验货单数据


2.勾选验货单数据,点击导出按钮,导出的是勾选的数据



编辑
点击编辑按钮,可以编辑验货申请单的预计验货数,公司主体等可以修改的信息,然后可以保存或者提交审批。


查看
点击查看按钮,可以查看按钮所在的验货单数据。

打印
点击查看按钮,弹窗之后,点击右下角的打印按钮,再次弹窗之后,点击左上角的打印,则会把显示的内容打印出来。

作废
点击作废按钮,弹出窗口后,点击确认之后,验货申请状态为已作废。



手动完成
点击手动完成按钮,弹出窗口,点击确认之后,验货申请状态为手动完成,则该验货单不能再继续做质检单。



