内部交易管理
内部交易管理
一、功能介绍
提高单据流合规化管理操作流程。
操作说明
流程操作

内部采购订单
数据源主要是外销计划、销售需求单据根据发货通知单对产品进行是否报关生成相关的采购单据
1.1产品不报关,生成的单据采购单据东方宏愿找乐能创新进行采购,乐能创新是供应商

1.2当调拨出库单进行作废,那么对应的采购单据类型,为采购退货单公司主体是东方宏愿供应商是乐能创新

- 产品报关,生成的单据应该有2个内部采购单据
2.1 进出口找乐能创新进行采购,供应商是乐能创新

2.1.1 当调拨出库单进行作废,那么对应的采购单据类型,为采购退货单公司主体是进出口供应商是乐能创新

2.2东方宏愿找进出口进行采购,供应商是进出口

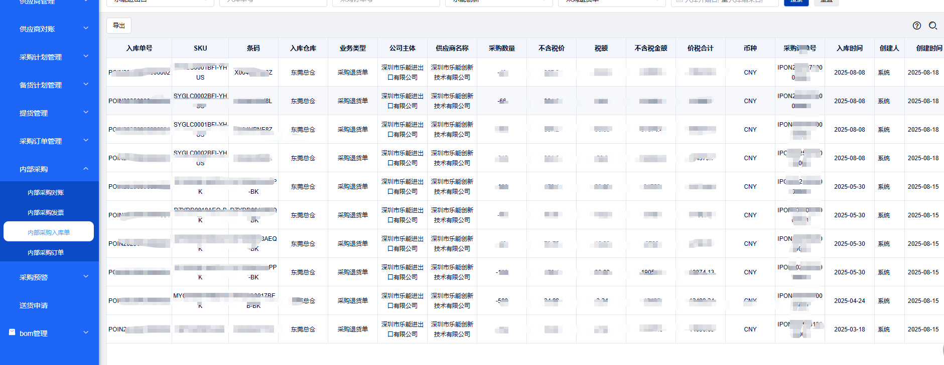
采购入库单据
数据源主要是外销计划、销售需求单据根据发货通知单对产品进行是否报关生成相关的采购入库单据

1.产品不报关,生成的单据采购单据东方宏愿找乐能创新进行采购,乐能创新是供应商

1.1当调拨出库单进行作废,那么对应的采购入库单据类型,为采购退货单公司主体是东方宏愿供应商是乐能创新

2.产品报关,生成的单据应该有2个内部采购入库单据
2.1 进出口找乐能创新采购,供应商是乐能创新

2.1.1当调拨出库单进行作废,那么对应的采购入库单据类型,为采购退货单公司主体是进出口供应商是乐能创新

2.2东方宏愿找进出口采购,供应商是进出口
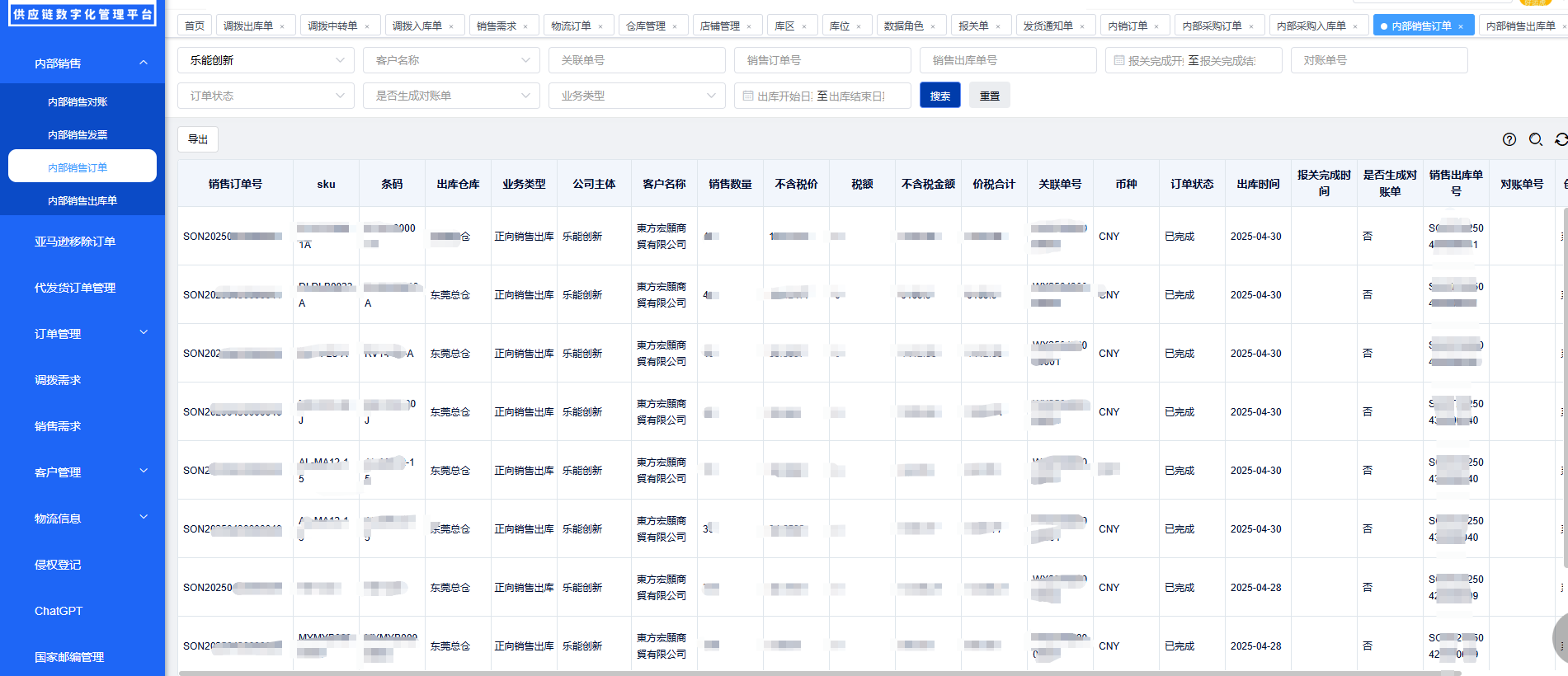
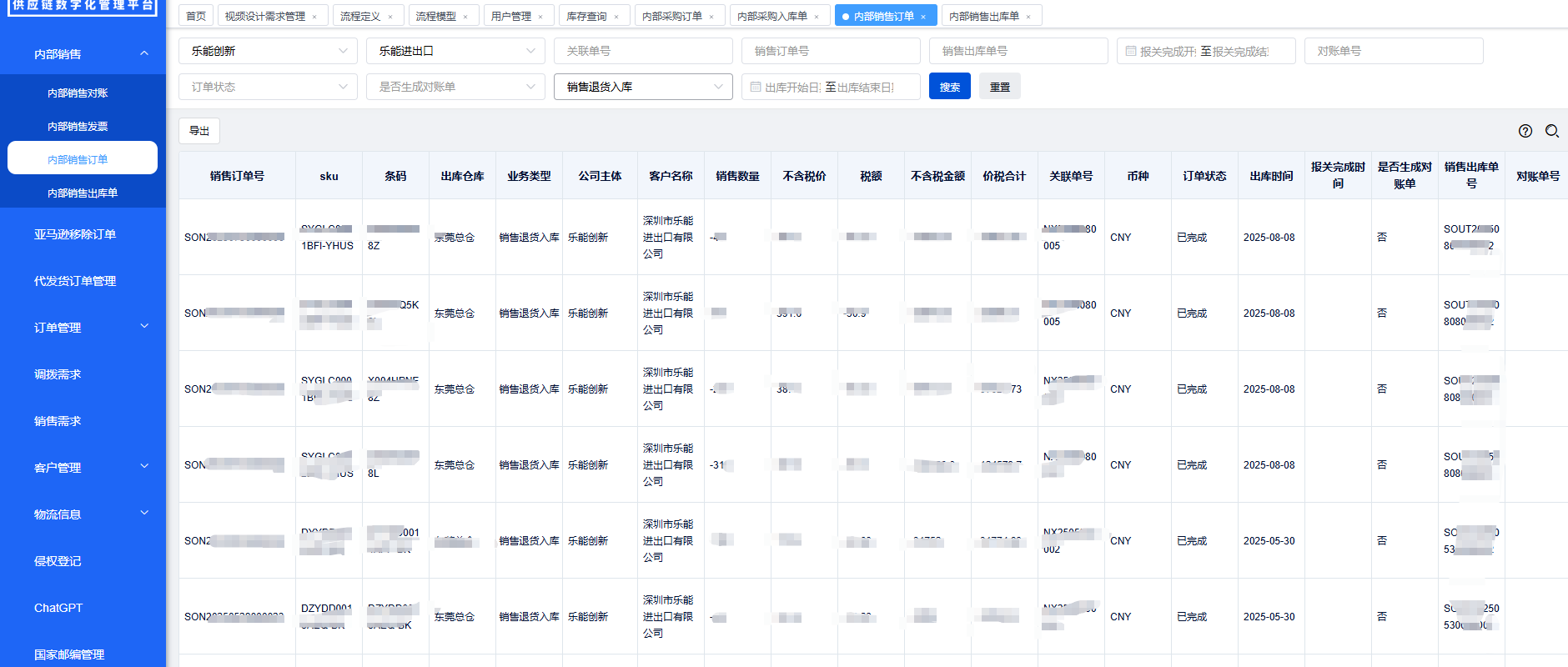
内部销售订单
数据源主要是外销计划、销售需求单据根据发货通知单对产品进行是否报关生成相关的销售单据
- 产品不报关 由乐能创新外销给东方宏愿

1.1当调拨出库单进行作废,那么对应的内部销售订单为销售退回入库单据类型,主体是乐能创新客户是东方宏愿

2.产品报关,生成2个销售订单单据
2.1由乐能创新销售给进出口

2.1.1当调拨出库单进行作废,那么对应的内部销售订单为销售退回入库单据类型,主体是乐能创新客户是进出口

2.2由进出口销售给东方宏愿

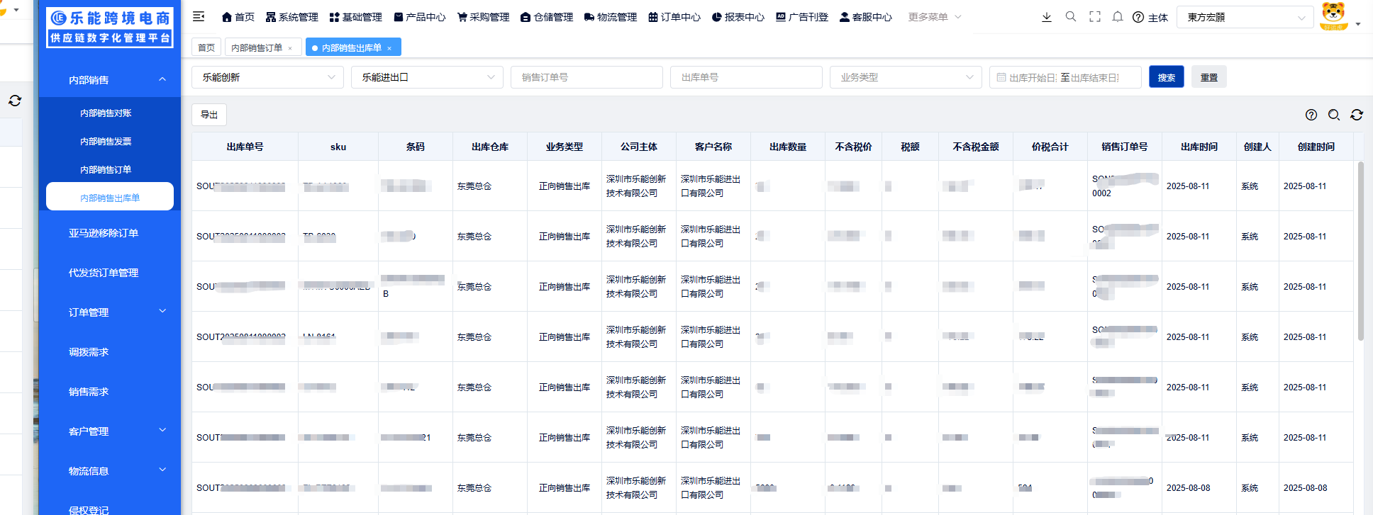
内部销售出库单
数据源主要是外销计划、销售需求单据根据发货通知单对产品进行是否报关生成相关的销售出库单据
1.产品不报关 由乐能创新外销给东方宏愿关联对应的销售订单
1.1由乐能创新出库给东方宏愿

1.1.1当调拨出库单进行作废,那么对应的内部销售出库单为销售退回入库单据类型,主体是乐能创新客户是东方宏愿

2.产品报关,生成2个内部销售出库单据
2.1由乐能创新出库给进出口

2.1.1当调拨出库单进行作废,那么对应的内部销售出库单为销售退回入库单据类型,主体是乐能创新客户是进出口

2.2由进出口出库给东方宏愿

内部/采购销售对账
逻辑流程图:

采购--生成账单时用的入库时间
销售--生成账单时用的出库时间
- 生成对账单
1.1定时任务自动生成对账单(默认生成上一月的账单)
逻辑:在次月第8个工作日0点(节假日往后顺延),把销售订单的状态=已完成,是否生成对账单=否,且报关完成时间/出库完成时间是在同一个年月的生成对账单;注意:本月未结束,则不能生成对账单

1.2手动生成对账单(默认生成上一月的账单)
逻辑:把销售订单的状态=已完成,是否生成对账单=否,且报关完成时间/出库完成时间是在同一个年月的生成对账单;弹窗确认是否生成对账单,确认,则按条件生成;注意:本月未结束,则不能生成对账单

- 编辑:只有待审批的账单才允许编辑操作

- 提交审核/批量提交审批:是否认可=是,才允许提交审批

- 导入发票:开票状态为未开票或者部分开票可进行导入发票操作


合同操作文档
路径:基础管理-合同管理-合同列表
- 新增
注意:上传的合同文件,提交后会自动校验,页面选择的供方和需方跟上传的合同文件否一致,如果不一致会提示上传不成功,如果一致才会创建成功


- 预览

- 下载

- 查询
