提货计划

一、功能介绍

提货计划是监管采购货物是否按在需求日期交货,本系统支持对审批通过的采购订单生成提货计划,提货计划可以编辑、审批、作废、导出,延期交货。

二、操作说明

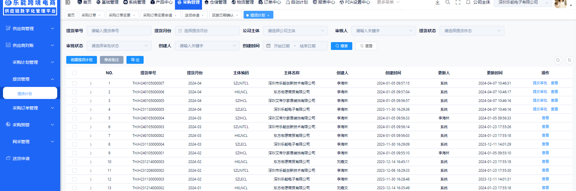
创建提货计划

点击创建提货计划按钮,在弹窗中选择月份和公司主体,点击保存之后,生成对应月份和主体的提货计划。

提货计划提货计划

提货计划

导出

1.勾选提货计划点击导出,导出勾选的提货计划。
2.直接点击导出,导出所有的数据。

提货计划提货计划提货计划

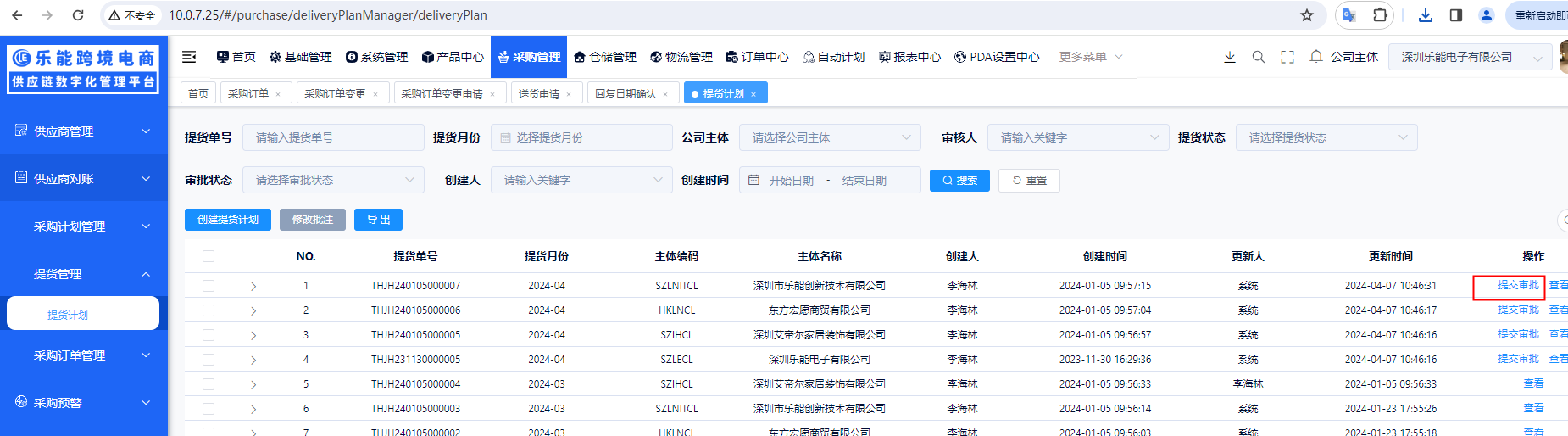
提交审批

点击提交审批,弹出窗口后,选择需要提交的审批数据,点击提交审批,再次弹出一个窗口,再次核对日期,金额等信息,提交审批;则生成一个子提货计划单。

提货计划

提货计划提货计划

主单查看

点击查看,查看提货计划数据。

提货计划

提货计划

延期交货

点击提货审批,通过搜索审批完成条件,勾选审批完成状态的明细数据,弹窗之后,勾选数据之后,选择主动延期或者被动延期,那么保存之后,相应的数据就会打上主动延期或者被动延期的标签。

提货计划

提货计划

提货计划提货计划提货计划

子单查看

点击查看,查看子提货计划数据。

提货计划

提货计划

子单作废

点击子提货计划作废按钮,则这个提货审批计划则是作废了,审批状态为终止。

提货计划